A készülék opcionális tartozékai
Útmutató a készülék külső kiegészítőinek funkcióiról

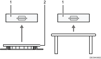
(1) A Szkenner egységre szerelhető kiegészítők
(elsősorban Európa)

Szám | Opció | Leírás |
|---|---|---|
1 | Automatikus dokumentumadagoló (ADF) duplázott adagolását érzékelő készlet | Észleli az eredeti dupla adagolását, amikor azt az ADF-be helyezi. |
(főleg Észak-Amerika)

Szám | Opció | Leírás |
|---|---|---|
1 | Automatikus dokumentumadagoló (ADF) duplázott adagolását érzékelő készlet | Észleli az eredeti dupla adagolását, amikor azt az ADF-be helyezi. |
(2) A készülék papírkiadó részére felszerelhető kiegészítők

Szám | Opció | Leírás |
|---|---|---|
1 | Belső adagoló 2*1 | Adja meg a funkció kimeneti adagolóját – például Másolás vagy Fax – az 1. belső adagolóhoz hozzáadva. A másolt/nyomtatott papír, illetve faxüzenetek nyomtatott oldallal lefelé kerülnek ide. |
*1 Ez az IM C400SRF sorozatra nem szerelhető fel. (
(főleg Európa)/
(főleg Észak-Amerika)
(3) A készülék oldalsó panelére szerelhető kiegészítők

Szám | Opció | Leírás |
|---|---|---|
1 | Kártyaolvasó | Tartson egy integrált áramkörös kártyát a kártyaolvasó fölé, hogy bejelentkezzen a készülékbe. |
(4) A készülék aljára szerelhető kiegészítők

Szám | Opció | Leírás |
|---|---|---|
1 | Papíradagoló egység | Ide helyezheti be a papírt. Max. 550 papírlapot tud bele betölteni. Maximum három papíradagoló csatlakoztatható, ha a készülék a padlóra vagy görgőtálcára van helyezve, és asztalra helyezve maximum kettő tálca. |
2 | Görgősasztal a papíradagoló egységhez | A papíradagoló egység használatához csatlakoztassa a görgősasztalt. Lehetővé teszi a készülék egyszerű mozgatását. |
Útmutató a készülék belső kiegészítőinek funkcióihoz
Faxegység (
(főleg Európa és Ázsia))Lehetővé teszi a fax funkció használatát.
PostScript 3 egység
Lehetővé teszi az eredeti Adobe PostScript 3 használatával készített anyagok kiadását.
OCR egység
Optikailag felismeri a beolvasott eredeti dokumentumokat, és létrehoz egy PDF fájlt beágyazott szövegadatokkal.
XPS kártya (
(főleg Ázsia)/
(főleg Észak-Amerika))Lehetővé teszi XPS fájlok közvetlen kiadását.
PictBridge-kártya
Lehetővé teszi fényképek közvetlen nyomtatását egy PictBridge-kompatibilis digitális fényképezőgépről.
Eszközszerver opció
Lehetővé teszi a nyomtatóhoz egy Ethernet-port hozzáadását. Lehetővé teszi, hogy a nyomtató funkcióval olyan hálózatról nyomtasson, amely eltér attól, amelyhez a készülék kapcsolódik.
IEEE 1284 interfészkártya
IEEE 1284-es kábel csatlakoztatását teszi lehetővé.
Vezeték nélküli LAN kártya
Lehetővé teszi a vezeték nélküli LAN-hálózaton keresztüli kommunikációt.
Fájlformátum-átalakító egység
Lehetővé teszi a dokumentumszerveren tárolt dokumentumok letöltését a számítógépre.
Továbbfejlesztett biztonságú merevlemez (
(főleg Európa)/
(főleg Észak-Amerika))Lehetővé teszi a merevlemez biztonságának növelését egy FIPS 140-2 kompatibilis titkosító funkció révén.
Faxcsatlakoztatási egység
Lehetővé teszi, hogy olyan készüléken keresztül küldjön és fogadjon faxokat, amelyik eltér attól, mint ahová a faxegység telepítve van.
VM-kártya
Lehetővé teszi a „Beágyazott szoftverarchitektúra” platformmal kompatibilis alkalmazások telepítését.
A készülék funkcióinak bővítéséhez különféle Java nyelven írt alkalmazások adhatók a készülékhez.
![]()
Csak a következők egyike telepíthető: IEEE 1284 interfészkártya, továbbfejlesztett vezeték nélküli LAN kártya, fájlformátum-konvertáló vagy eszközszerver opció.
A készülékre egyszerre csak a következő kiegészítők egyike telepíthető: merevlemez és továbbfejlesztett biztonsági merevlemez.
Az Ethernet interfész és a vezeték nélküli LAN-kártya egyszerre nem használható.