Příslušenství zařízení
Průvodce funkcemi externího příslušenství zařízení

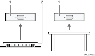
(1) Příslušenství připojené k jednotce skeneru
(Evropa)

Č. | Příslušenství | Popis |
|---|---|---|
1 | Sada ADF pro detekci dvojitého podání | Zjišťuje dvojité podání originálů při použití ADF. |
(Severní Amerika)

Č. | Příslušenství | Popis |
|---|---|---|
1 | Sada ADF pro detekci dvojitého podání | Zjišťuje dvojité podání originálů při použití ADF. |
(2) Příslušenství připojené v části zařízení pro výstup papíru

Č. | Příslušenství | Popis |
|---|---|---|
1 | Vnitřní zásobník 2*1 | Určete výstupní zásobník pro požadovanou funkci, jako například kopírování nebo faxování, přiřazenou k internímu zásobníku 1. Do tohoto zásobníku budou zkopírované / vytištěné listy nebo faxové zprávy dodávány potištěnou stranou dolů. |
*1 Nelze použít u řady IM C400SRF. (
(hlavně Evropa)/
(hlavně Severní Amerika))
(3) Příslušenství umístěné na boční straně zařízení

Č. | Příslušenství | Popis |
|---|---|---|
1 | Čtečka karet | Přiložením IC karty nad čtečku se lze přihlásit k zařízení. |
(4) Příslušenství umístěné ve spodní části zařízení

Č. | Příslušenství | Popis |
|---|---|---|
1 | Jednotka zásobníku papíru | Sem se vkládá papír. Kapacita je až 550 listů papíru. Když je zařízení umístěno na zemi nebo na pojízdném podstavci, můžete k němu připojit až tři zásobníky papíru, když je umístěno na stole, můžete k němu připojit až dva zásobníky papíru. |
2 | Pojízdný podstavec pro jednotku zásobníku | Pokud chcete použít jednotku zásobníku, připojte i pojízdný podstavec. Umožňuje vám snadné přemisťování zařízení. |
Průvodce funkcemi interního příslušenství zařízení
Jednotka faxu (
(hlavně Evropa a Asie))Umožňuje využívat funkce faxu.
Ovladač PostScript 3
Umožňuje provádět tisk pomocí původního Adobe PostScript 3.
Jednotka OCR
Rozeznává text naskenovaných originálů a vytváří PDF s vloženými OCR daty.
Karta XPS (
(hlavně Asie)/
(hlavně Severní Amerika))Umožňuje přímý výstup souborů XPS.
Karta PictBridge
Umožňuje přímo tisknout fotografie pořízené digitálním fotoaparátem kompatibilním se standardem PictBridge.
Volitelný server pro zařízení
Umožňuje přidat k tiskárně další ethernetový port. Umožňuje to tisk prostřednictvím další sítě, než která je standardně používána pro připojení zařízení.
Karta rozhraní IEEE 1284
Umožňuje připojení ke kabelu IEEE 1284.
Karta bezdrátové sítě LAN
Umožňuje komunikaci prostřednictvím bezdrátové LAN.
Konvertor formátu souborů
Umožňuje stahovat dokumenty z dokumentovém serveru zařízení do počítače.
Pevný disk se zvýšeným zabezpečením (
(hlavně Evropa)/
(hlavně Severní Amerika))Umožňuje zvýšit zabezpečení pevného disku pomocí funkce šifrování, které odpovídá FIPS 140-2.
Jednotka připojení faxu
Umožňuje odesílat a přijímat faxy prostřednictvím jiného zařízení, které má nainstalovanou faxovou jednotku.
VM karta
Umožňuje instalovat aplikace kompatibilní s platformou „Embedded Software Architecture“.
V rámci rozšíření funkce tohoto zařízení lze přidat různé aplikace psané v jazyce Java.
![]()
Instalovat lze pouze jednu z následujících položek: Deska rozhraní IEEE 1284, deska bezdrátové LAN, konvertor formátů souborů nebo volitelný server pro zařízení.
Do zařízení lze nainstalovat pouze jednu z následujících položek: Pevný disk nebo Pevný disk s rozšířeným zabezpečením.
Rozhraní Ethernet a kartu bezdrátové sítě LAN nelze používat současně.